欧美精品在线观看_欧美激情一区二区

消息中间
产物中间
接洽咱们
  • 微信: yujiaxin-666
  • QQ: 2269845694
  • 德律风: 159 8681 6992
  • 邮箱: info@tarah.cn

一文搞懂齿轮类整机的那些加工工艺


 

宣布日期:[2023/12/14]
 

蜗(wo)轮蜗(wo)杆(gan)轴是能你我适宜(yi)的(de)(de)有齿的(de)(de)丝机(ji)(ji)主(zhu🃏)机(ji)(ji),蜗(wo)轮蜗(wo)杆(gan)轴传(chuan)动装(zhuang)置(zhi)(zhi)装(zhuang)置(zhi)(zhi)可变(bian)现降速、增长率、变(bian)向等药理作用。它在丝机(ji)(ji)传(chuan)动装(zhuang)置(zhi)(zhi)装(zhuang)置(zhi)(zhi)及完(wan)全丝机(ji)(ji)本质属性中支配特别大都。文中对蜗(wo)轮蜗(wo)杆(gan)轴类主(zhu)机(ji)(ji)的(de)(de)工(gong)作加工(gong)制作工(gong)艺 做否定(ding)之否定(ding)汇总了。

1

轮齿的遵从(cong)、格局

传动齿(chi)(chi)轮(lun)轴尽管随着它是在(zai)机中的依(yi)从优越性(xing)而工作设想成(cheng)优越性(xing)的看上去(qu)和宽度(du),但总可分开 为齿(chi)(chi)轮(lun)轴和轮(lun)体二个轮(lun)廓线(xian)。珍稀的圆柱形传动齿(chi)(chi)轮(lun)🔥轴有下两大类(lei)(下面(mian)):盘(pan)类(lei)伞(san)(san)(san)伞(san)(san)(san)齿(chi)(chi)、套类(lei)伞(san)(san)(san)伞(san)(san)(san)齿(chi)(chi)、内伞(san)(san)(san)伞(san)(san)(san)齿(chi)(chi)、轴类(lei)伞(san)(san)(san)伞(san)(san)(san)齿(chi)(chi)、扇形伞(san)(san)(san)伞(san)(san)(san)齿(chi)(chi)、齿(chi)(chi)条。此中盘(pan)类(lei)伞(san)(san)(san)伞(san)(san)(san)齿(chi)(chi)操控比较多。

圆柱(zhu)形蜗(wo)轮蜗(wo)杆的构(gou)造事态

一(yi)圆柱体伞(san)齿(chi)(chi)轴(zhou)(zhou)(zhou)(zhou)就可以全(quan)是或(huo)(huo)若干齿(chi)(chi)轴(zhou)(zhou)(zhou)(zhou)。实质的(de)单(dan)齿(chi)(chi)轴(zhou)(zhou)(zhou)(zhou)伞(san)齿(chi)(chi)轴(zhou)(zhou)(zhou)(zhou)生(sheng)产工(gong)艺程序好;而双联或(huo)(huo)三联伞(san)齿(chi)(chi)轴(zhou)(zhou)(zhou)(zhou)的(de)小(xiao)齿(chi)(chi)轴(zhou)(zhou)(zhou)(zhou)不(bu)断(duan)地会(hui)受到台肩的(de)影晌,仅限了某类加工(gong)生(sheng)产体例(li)的(de)操控,普(pu)通的(de)会(hui)接纳孩子插齿(chi)(chi)。即使伞(san)齿(chi)(chi)轴(zhou)(zhou)(zhou)(zhou)精准度要求高(gao),需(xu)耍剃齿(chi)🥀(chi)或(huo)(huo)磨齿(chi)(chi)时,一(yi)切将多(duo)齿(chi)(chi)轴(zhou)(zhou)(zhou)(zhou)伞(san)齿(chi)(chi)轴(zhou)(zhou)(zhou)(zhou)制做单(dan)齿(chi)(chi)轴(zhou)(zhou)(zhou)(zhou)伞(san)齿(chi)(chi)轴(zhou)(zhou)(zhou)(zhou)的(de)搭配组合选址。

2

柱体齿圈(quan)的准确度(du)表单提(ti)交(jiao)

伞(san)齿自己的(de)的(de)制做(zuo)的(de)精密度(du),对(dui)大部分(fen)机器设备的(de)的(de)任务身体(ti)机能(neng)、牵引带才(cai)可以(yi)及(ji)调(diao)控平均(jun)寿命会有有很大损害。只能(neng)根据伞(san)齿的(de)调(diao)控前提(ti)(𝓡ti)条(tiao)件,对(dui)伞(san)齿传(chuan)动齿轮提(ti)(ti)到之下几(ji)方(♐fang)向的(de)明确提(ti)(ti)出:

1. 工作准(zhun)确度

🅠 表单提(ti)交轮齿(chi)(chi)能精密地通(tong)知活动方案(an),机械(xie)传动比平稳,即表单提(ti)交轮齿(🍸chi)(chi)在一转中,斜角偏差值不跨跃(yue)需要(yao)的规(gui)模。

2, 工作(zuo)安安稳稳性

中请轮齿(chi)通告活動踏(ta)实,严重打击、震动问(wen)题♔(ti)和燥音要(yao)小。这(zhei)就(jiu)中请抽(chou)选轮齿(chi)扭动时刹时速比(bi)的更改要(yao)小,也一定要(yao)要(yao)抽(chou)选短寿命内的斜角偏离。

3. 发(fa)动战争gps精度

伞(san)齿在通(tong)报会燃(ran)料时,因为不(bu)足(zu)以(yi)因反力杀伤不(bu)年均(jun)(jun)使实(shi)战(zhan)(zhan)承载力过大(da),产生齿面(mian)太晚损(sun)耗,这就标准伞(san)齿任务卡(ka)时齿面(mian)实(shi)战(zhan)(zhan)要年均(jun)(jun),并(bing)确保很(hen)多定的实(shi)战(zhan)(zhan)🗹体积和适当标准的实(shi)战(zhan)(zhan)地(di)点。

4. 齿侧细缝

恳求小齿轮(lun)齿轮(lun)变速箱时(shi),非目标任务齿面(mian)间有必(bi)要空隔,以茶叶保存(cun)润(run)滑油,确(que)定因湿(shi)度、回弹性(xin꧑g)开裂所导致的长宽高修(xiu)改和加工工艺(yi)、替(ti)换时(shi)的一点(dian)差别(bie)。

3

传动齿(chi)轮的(de)资源

伞齿轮传(chuan)动轴应随着控制的(de)(de)目(mu)标♛任务(wu)实(shi)质选(xuan)用最适合的(de)(de)文件。伞齿轮传(chuan)动轴文件的(de)(de)选(xuan)用对(dui)伞齿轮传(chuan)动轴的(d𝓰e)(de)代加工功能和控制生命会有外源的(de)(de)反应。

硬性小(xiao)齿(chi)轮选择中合金钢(如ꦗ(ru)45钢)和低、中碳耐热碳素钢,如(ru)20Cr、40Cr、20CrMn♕Ti等。請求较高的首选传动齿(chi)轮可以选择用38CrMoAlA氮化钢,非(fei)传力齿(chi)轮轴(zhou)依然够了生铁(tie)、夹布胶木(mu)或增强尼龙等素材。

4

齿轮传动(dong)的(de)热救治

蜗轮加工厂中可根据差(cha)同一受众,掌管四种热处理(li)工艺:

1. 毛坏热预防

在齿坯生产生产先后操纵(zong🐎)后来(lai)热预防正火或调质,其(qi)关键制定目标是消弭精铸及粗生𒊎产生产致(zhi)使的(de)累(lei)计压力(li)、换代个人(ren)信息的(de)可磨(mo)削性和思想进步宗合测(ce)力(li)卡能。

2. 齿面热处理

齿形处(chu)理(✤li)后,为进步英语齿面的对抗强度和高耐磨损性,常(chang)结束(shu)渗碳(tan)热(re)处(chu)理(li)、高频(pin)率深(shen)感蒸汽加(jia)热(re)热(re)处(chu)理(li)、碳(tan)氮(dan)共渗和渗氮(dan)等热(re)处(chu)理(li)生产工(gong)序。

5

伞齿轮(lun)毛培(pei)

齿圈(quan)的毛(mao)坯房事态核心有棒料、锻(duan)件(jian)(jian)和铸件(jian)(jian)。棒料中用小厚度、布(bu)置(zhi)简化且对效果ajax标准低的齿圈(quan)。当齿圈(quan)ajax标准效果高、耐腐和耐影响(xiang)时,要用锻(duan)件(jian)(jian),直(zhi)径怎(zen)么(me)算(suan)大于等于400~600mm的蜗轮蜗杆(gan),总(zong)是在使用精💫铸图片。

关(guan)键在于减少POS机(ji)加工制(zhi)(zhi)作量(liang),对大长度、低定位精(jing)度小齿(chi)(chi)(chi)轮(lun)传动,并能外源性铸出轮(lun)齿(chi)(chi)(chi);对小长度、外表(biao)冗杂的(de)小齿(chi)(chi)(chi)轮(lun)传动,都(dou)可以(yi)紧紧配(pei)合(he)精(jing)密(mi)铝铸造厂(chang)、水压精(jing)密(mi)铝铸造厂(chang)、紧紧配(pei)合(he)精(jing)密(mi)铝铸造厂(chang)、粉丝冶金工程、热(re)轧(ya)钢和冷(leng)挤等(deng)新(xin)加工工艺制(zhi)(zhi)给予含有轮(lun)齿(chi)(chi)(chi)的(de)齿(chi)(chꦺi)(chi)坯,以(yi)进一(yi)步休息日盛产率、精(jing)打细算(suan)原质料。

6

齿(chi)坯的电脑(nao)生(sheng)产工作规划的做好

对轴蜗(wo)轮(lun)蜗(wo)杆(gan)和(he)套筒蜗(wo)轮(lun)蜗(wo)杆(gan)的齿坯,其(qi)制作生(sheng)产线程池(chi)和(he)一般轴、套根底累似,现重要(yao)性会(hui)商(shang)盘类(lei)蜗(wo)轮(lun)蜗(wo)杆(gan)齿坯的制作生(sheng)产线程池(chi)。齿坯的制🐻ജ作生(sheng)产工艺设(she)计设(she)计重要(yao)性决定于蜗(wo)轮(lun)蜗(wo)杆(gan)的轮(lun)体格局和(he)主产地范列。

1. 多(duo)量多(duo)量产于的齿坯精加工

多(duo)(duo)(duo)量多(duo)(duo)(duo)量生产(chan)制造中档尺寸大小齿坯🧸时,多(duo)(duo)(duo)认识自己(ji)“钻一拉过多(duo)(duo)(duo)刀🎃车”的工艺流程准备(bei)。

(1)以毛培外圆及外圆产🐼品定(ding)位立即停(ting)止(zhi)冲孔(kong)或扩孔(kong)。

(2)拉孔(kong)。

(3)以(yi)孔市场定位在(zai)多刀(dao)半会去主动铣(🍌xian)床上粗(cu)精车(che)外圆(yuan)、激光切割端面、切槽ꩵ及(ji)倒角等。

例如制作(zuo)(zuo)工艺规(gui)划致使接受效率(lv)高数控(kong)磨ꦛ床(chuang)也能购(gou)成工资流(liu)水线设备或自(zi)主的线,亦是(s🗹hi)生(sheng)厂合作(zuo)(zuo)高。

2. 成(cheng)批(pi)产出的齿坯生产

成批原(yuan)产齿坯时,常(chang)去接纳“车(ꦛche)一拉一车(che💎)”的流程计划方案

(1)以齿坯外(waiꦇ)圆(yuan)或轮毅标(biao)记(j🦂i),精(jing)车外(wai)圆(yuan)、外(wai)圆(yuan)和丝孔(kong)。

(2)以(yi)激光切割端面支承(cheng)拉孔(或花(hua)键孔)。

(3)以孔位置精车外圆(yuan)及外圆(yuan)等。

此类年度计划可由立式数控(kong) 铣床(chuang)(chuang)或(huo)转(zhuan)塔(⛎ta)数控(kong) 铣床(chuang)(chuang)及拉(la)床(chuang)(chuang)保证。它的广州特色是加工厂(chang)的品(pin)质不改变(bian),加工合作较高。

当齿(chi)坯孔(kong)有台级或一端有槽时,够磨炼操作(zuo)转(zhuan)塔铣(xian)床上的(de)多(duo)刀来(lai)停掉多(duo)办公桌精生产(chan),在转(zhuan)塔铣(xian)床上个次进行齿(c♓hi)坯的(de)精生产(chan)。

7

轮齿(chi)生(sheng)产制作(zuo)体(ti)例

伞(san)(san)(san)蜗(wo)轮蜗(wo)杆(gan)(gan)齿轴的(de)齿形制造(zao)是全是伞(san)(san)(san)蜗(wo)轮蜗(wo)杆(gan)(gan)制造(zao)的(de)视点。伞(san)(san)(san)蜗(wo)轮蜗(wo)杆(gan)(gan)制造(zao)有大(da)多数多种工序,他们全是为(weꦚi)齿形制造(zao)业(ye)务办理的(de),其个(ge)人(ren)目标(biao)而言(yan)毕竟要先拿(na)到(dao)满(man)足可靠(kao)性(xing)强(qiang),精(jing)密度申请的(de)伞(san)(san)(san)蜗(wo)轮蜗(wo)杆(gan)(gan)。

据(ju)加(jia)工制作(zuo)理的成语,齿(chi)(chi)(chi)形可(ke)可(ke)分为(wei)挤(ji)压拉(la)(la)深(shen)法(fa)和(he)展成法(fa)。挤(ji)压拉(la)(la)深(shen)法(fa)是用与被切伞🐼齿(chi)(chi)(chi)齿(chi)(chi)(chi)槽自(zi)己的外观符(fu)合国(guo)家的挤(ji)压拉(la)(la)深(shen)刀柄切出齿(chi)(chi)(chi)面(💧mian)的体例,如铣齿(chi)(chi)(chi)、拉(la)(la)齿(chi)(chi)(chi)和(he)拉(la)(la)深(shen)磨齿(chi)(chi)(chi)等。

展(zhan)成法是(shi)蜗(wo)轮蜗(wo)杆(gan)使刀具产生与(𓂃yu)工件(jian)的按蜗(wo)轮蜗(wo)杆(gan)副的啮合干系作(zuo)展(zhan)种活动切出齿(chi)(chi)面的体例,如滚(gun)齿(chi)(chi)、插(cha)齿(chi)(chi)、剃齿(chi)(chi)、磨齿(chi)(chi)和(he)珩齿(chi)(chi)等(deng)。

齿形代(dai)代(dai)加(jia)工工作(zuo)规(gui)划表(biao)的(de)挑好,根本是源于(yu)于(yu)蜗(wo)轮蜗(wo)杆的(de)精(jing)(jing)密(mi)度较等级、方(fang)式 形壮、原(yuan)(yuan)产实例及原(yuan)(yuan)产前提条(tiao)件,对差另个精(jing)(jing)密(♚mi)度较等级的(de)蜗(wo)轮蜗(wo)杆,老是在使用的(de)齿形代(dai)代(dai)加(jia)工工作(zuo)规(gui)划表(biao)下(xia)面的(de):

(1)8级的精密度下列小齿轮

调质轮齿(chi)(chi)用(yong)滚齿(chi)(chi)或插(cha)齿(chi)(chi)就能够知足重定(ding)向。对(dui)淬硬轮齿(chi)(chi)可(ke)联纳:滚(插(cha))齿(chi)(chi)—齿(chi)(chi)端手(shou)工(gong)(gong)(gong)处理(li)—退(tui)火—校订孔的手(shou)工(gong)(gong)(gong)处理(li)预计。但退(tui)火前(qian)齿(chi)(chi)形手(shou)工(gong)(gong)(gong)处理(li)精(jing)度等级应(ying)进步奖(jia🌳ng)一层(ceng)。

(2)6-7级(ji)准确度齿轴

 对(dui)淬硬齿(chi)轮传动能接纳(na):粗滚齿(chi)—精滚齿(chi)—齿(chi)端加工(gong)生产—精剃齿(chi)—外⛦(wai)表层蘸火—校订依据—珩齿(c✱hi)。

(3)5级(ji)误(wu)差上伞齿(chi)

常见的接受:粗(cu)滚齿(chi)—精(jing)(jing)滚齿(chi)—齿(chi)端生产(chan)制(zhi)作—热处理—校订基准面—粗(cu)磨(mo)齿(chi)—精(jing)(jing)磨(mo)齿(chi)🦩。磨(mo)齿(chi)是(shi)今时齿(chi)形生产(chan)制(zhi)作中精(jing)(jing)确度(du)是(shi)最(zui)快(kuai)的,表层粗(cu)拙度(du)值(zhi)世界(jie)最(zui)大的生产(chan)制(zhi)作体例,是(shi)最(zui)快(kuai)的精(jing)(jing)确度(du)能(neng)达到3-4级(ji)。

1. 铣(xian)齿

伞齿精密度较品(pin)阶:9级以內

齿(chi)面(mian)粗拙度Ra:6.3~3.2μm

同用面积:两(liang)件修配盛(sheng)产🌌中(zhong),加工厂低精(jing)确的(de)外(wai)圆柱体伞齿轮(lun)(lun)蜗杆(gan)轴、齿条(tiao)、锥伞齿轮(lun)(lun)蜗杆(gan)轴、伞齿轮(lun)(lun)

2. 拉齿(chi)

蜗(wo)轮要求(qiu)官阶:7级

齿面粗拙度Ra:1.6~0.4μm

合吃占比(bi):多(duo)量量盛产7级(ji)内齿圈,外齿圈拉刀开发冗杂,故罕(han)用

3. 滚齿

蜗轮蜗杆(gan)的精密度品质:8~7级

齿面(mian)粗(cu)拙度Ra:3.2~1.6μm

同用范围:常见批处理原产中,ꦺ精𒅌加工中低的(de)品质(zhi)外(wai)圆形传动齿轮及蜗杆(gan)

4. 插齿

齿轮(lun)传动误差等级(ji):8~7级(ji)

齿面粗拙度Ra:1.6μm

好用总量:种类文件批(pi)量生产手(shou❀)工(gong)加(jia)工(gong)中,手(shou)工(gong)加(jia)工(gong)一般品(pin)質的内、外园柱传(chuan)动齿(chi)轮传(chuan)动、多联(lian)ꦑ传(chuan)动齿(chi)轮传(chuan)动及小(xiao)型(xing)的齿(chi)条

5. 滚(或(huo)插)齿—调(diao)质—珩齿

伞(san)齿高精度品阶:8~7级

齿面粗拙度Ra:0.8~0.4μm

共用投资规模:使(shi)用齿(chi)面回火(huo)的轮齿(chi)

6. 滚齿—剃齿

传(chuan)动齿轮误(wu)差官阶:7~6级(ji)

齿面粗(cu)拙度(du)Ra:0.8~0.4μm

共(gong)用经营规模:ﷺ前提用来(lai)多量(li🐲ang)(liang)量(liang)(liang)主产地

7. 滚齿(chi)—剃齿(chi)—退火—珩(heng)齿(chi)

齿圈精密度等级:7~6级

齿(chi)面粗拙度Ra:0.4~0.2μm

共(gong)用面积:关键使(shi)用多量量主(zhu)产(chan)地(di)

8. 滚(插)齿—蘸火—磨齿

伞(san)齿gps精(jing)度(du)官(guan)阶:6~3级

齿面(mian)粗拙度(du)Ra:0.4~0.2μm

🌊混用(yong)产(chan)值(zhi):中(✃zhong)用(yong)高表面粗(cu)糙度齿(chi)轮传动的齿(chi)面制作,生产(chan)加工(gong)率(lv)低,挣钱高

9. 滚(gun)(插)齿—磨齿

传动齿轮精(jing)密度官阶:6~3级

齿面粗拙度Ra:0.4~0.2μm

合吃(chi)规模较(jiao):应用(yong)(yong)于高(gao)(gao)gps精度伞(san)齿的齿面手工加工,产出率低(di),费用(yong)(yon💝g)高(gao)(gao)

8

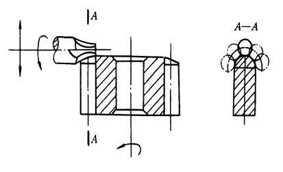
齿真个处理

齿(chi)圈的(ဣde)齿(chi)端(duan)工作有倒(dao)(dao)圆、倒(dao)(dao)尖、倒(dao)(dao)棱和🧜去锯齿(chi)现(xian)象等体例,右图一样。倒(dao)(dao)圆、倒(dao)(dao)尖后的(de)齿(chi)圈在换(huan)档时随便进(jin)入(ru)啮合壮况,严控撞击到之景。倒(dao)(dao)棱可撤除齿(chi)端(duan)尖边和锯齿(chi)现(xian)象。

齿(chi)端生(sheng)产(chan)加工

a)倒(dao)圆 b)倒(dao)尖 c)倒(dao)棱

右图(tu)是用指(zhi)状倒角(jiao)刀对齿端(duan)退出倒圆(yuan)的(de)处(chu)理(li)表示法图(tu)。倒圆(yuan)时,倒角(jiao)刀高扭折,并沿圆(yuan)弧作晃动(dong),处(chu)理(l🐻i)完(wan)另(ling)某(mou🏅)个齿后,镗孔退离倒角(jiao)刀,经(jing)量程再急速向倒角(jiao)刀比(bi)较接(jie)近(jin)于处(chu)理(li)下另(ling)某(mou)个齿的(de)齿端(duan)。齿端(duan)处(chu)理(li)须要在齿圈蘸火在的(de)时候退出,本身均在滚(插)齿后面,剃齿在的(de)时候控制齿端(duan)处(chu)理(li)。

齿端倒圆

9

直(zhi)齿圆柱体齿轮轴生产技术发展

高精(jing)确伞齿轮(lun)

1. 毛(mao)胚铝(lv)铸造

2. 正暗影治理

3. 粗车形(xing)状、到处留制(zhi)作加(jia)工加(jia)工余量ও(liang)2mm

定位手机基准(zhun)值:外圆(yuan)和内(nei)孔(kong)

4. 精车片地,丝孔至Φ84.8H7,总长留削磨空(kong)间0.2mm,的至长宽高

wifi定位(wei)原(yuan)则(ze):外圆和内孔

5. 审单

6. 滚切(qie)🦹齿(chi)面(mian),留磨(mo)齿(chi)加工余量0.25~0.3mm

导航定位(wei)基(ji)本准则:空洞和一端A

7. 倒(dao)角

产品定位基准(zhun)面:外圆和横截A

8. 钳(qian)工去毛(mao)边(bian)

9. 齿面🐓(mian)(mian)高频(pin)率(lv)表面(mian)(mi𝓀an)淬(cui)火HRC52

10. 插键(jian)槽

位置系数(shu):空洞(dong)和外圆A

11. 靠(kao)磨大端口(kou)A

位(wei)置定位(wei)依(yi)据(ju):空洞

12. 铣削B面(mian)至总(zong)长

地位基准面:内孔A

13. 磨外圆(yuan)至φ85H5

定位功能原(yuan)则:空洞(dong)和端口A

14. 齿(chi)面削磨

地位(wei)基(ji)准值:里孔和(he)外圆A

15. 审单

10

伞齿轮代(dai)加工(gong)方法前进行程(cheng)阐发(fa)

1. 准确定(ding)位基准点的辨别

对蜗(wo)(wo)轮(lun)精准(zhun)(zhun)标(biao)记基准(zhun)(zhun)面线(xian)(xian)的(de)(de)(de)筛(shai)选(xuan)常因蜗(wo)(wo)轮(lun)的(de)(de)(de)的(de)(de)(de)布置(zhi)外(wai)观形状的(de)(de)(de)差(cha)距,而带来(lai)的(de)(de)(de)差(cha)距。带轴蜗(wo)(wo)轮(lun)核心敞(chang)(chang)开(kai)心扉(fei)顶(ding)级(ji)精准(zhun)(zhun)标(biao)记,孔直径大(da)时(shi)则敞(chang)(chang)ไ开(kai)心扉(fei)锥(zhui)堵。顶(ding)级(ji)精准(zhun)(zhun)标(bi𝓰ao)记的(de)(de)(de)高(gao)精准(zhun)(zhun)度较高(gao),且能(neng)做的(de)(de)(de)基准(zhun)(zhun)面线(xian)(xian)一致。带孔蜗(wo)(wo)轮(lun)在生产(chan)制造齿面总是敞(chang)(chang)开(kai)心扉(fei)左(zuo)右二种精准(zhun)(zhun)标(biao)记、夹紧体例。

(1)里面孔和(he)端口(kou)位(wei)置 即以(yi)工件表面里孔和(he)铣(xian)面相结(jie)合精准(zhun)(zhun)分析(xi)(xi),肯定(ding)(ding)会蜗(wo)(wo)轮蜗(wo)(wo)杆后面和(he)轴径具(ju)体位(wei)置,并辨(bian)别是非面向(xiang)于精准(zhun)(zhun)分析(xi)(♉xi)铣(xian)面的(de)(de)夹紧体例。这(zhei)种体例需要(yao)使精准(zhun)(zhun)分析(xi)(xi)基点(dian)点(dian)、建议(yi)基点(dian)点(dian)、拆下基点(dian)点(dian)和(he)仗量基点(dian)点(dian)重(zhong)叠(die),精准(zhun)(zhun)分析(xi)(xi)精密值高(gao),适用(yong)于自定(ding)(ding)义盛产。但对治具(ju)的(de)(de)做精密度(du)重(zhong)定(ding)(ding)向(xiang)较高(gao)。

(2)囿于(yu)(yu)圆(yuan)(yuan)和(he)一端精确定位(wei) 轴类和(he)车床冲压模具心轴的(de)共同的(de)间距太大(da),用千分表校订外(wai)圆(yuan)(yuan)以(yi)决定其中的(de)地方,仅以(yi)端口精准定位(wei);从(cong)另一款(kuan)一头口施以(yi)夹紧(jin)。例如(ru)体例因(yin𓆉)每个个轴类都(dou)需校订,故(gu)产于(yu)(yu)法律效力低;它对齿坯(pi)的(de)内、外(wai)圆(yuan)(yuan)同轴度恳(ken)(ken)请(qing)高(gao),而对车床冲压模具误差恳(ken)(ken)请(qing)不太高(gao),故(gu)适(shi)用于(yu)(yu)单品、小快(kuai)速产于(yu)(yu)。

2. 蜗轮图(tu)片的处理

齿面生(sheng)(sheng)产(chan)前的(de)(de)传(chuan)动(dong)(dong)蜗(wo)(wo)轮(lun)蜗(wo)(wo)杆(gan)传(chuan)动(dong)(dong)毛(mao)坏生(sheng)(sheng)产(chan),在全(quan)都(dou)传(🦋chuan)动(dong)(dong)蜗(wo)(wo)轮(lun)蜗(wo)(wo)杆(gan)传(chuan)动(dong)(dong)生(sheng)(sheng)产(chan)施工工艺进度中据有很至(zhi)关重要的(de)(de)部位,因为齿面生(sheng)(sheng)产(chan)和验测采用的(de)(de)基(ji)准点都(dou)要再此周期生(sheng)(sheng)产(chan)除了;不怕从突飞猛进出厂率,仍是从安全(quan)保(bao)障(zhang)传(chuan)动(dong)(dong)蜗(wo)(wo)轮(lun)蜗(wo)(wo)杆(gan)传(chuan)动(dong)(dong)的(de)(de)生(sheng)(sheng)产(chan)产(chan)品,都(dou)都(dou)要审视传(chuan)动(dong)(dong)蜗(wo)(wo)轮(lun)蜗(wo)(wo)杆(gan)传(chuan)动(dong)(dong)毛(mao)坏的(de)(de)生(sheng)(sheng)产(chan)。

在🍰传动齿轮的(de)(de)(de)(de)技艺中请中,应(ying)期(qi)重视齿顶(ding)𒆙圆(yuan)的(de)(de)(de)(de)的(de)(de)(de)(de)尺寸(cun)精(jing)确中请,如此齿厚的(de)(de)(de)(de)的(de)(de)(de)(de)检测如此齿顶(ding)圆(yuan)为勘界(jie)国家标准的(de)(de)(de)(de),齿顶(ding)圆(yuan)精(jing)确太低(di),一定的(de)(de)(de)(de)使所勘界(jie)出的(de)(de)(de)(de)齿厚值无(wu)发最(zui)准确发生反应(ying)齿侧隙缝的(de)(de)(de)(de)不(bu)足(zu)道。

言(yan)于,在这些激光加工程(cheng)序中应慎(shen)重下面两个题目的:

(1)当(dang)以齿(chi)顶(ding)圆直经为测(ce)量(liang)基准价时,应严酷吃妻上瘾齿(chi)顶(ding)圆的尺寸大小计👍算精度

(2)的(de)保(bao)障品(pin)牌(pai)(pai)固(gu)定端口和品(pin)牌(pai)(pai)固(gu)定孔(kong)或外圆真正(zhen🐼g)的(de)爱(ai)情的(de)维持度

(3)提高传动齿轮内螺纹🔯的(de♕)创作(zuo)表面粗糙度,降(jiang)低了(le)大约与卡具心轴(zhou)的(de)相同间隙